目前AMD在2022年12月8日提交的一项新专利目前已经被发现,AMD似乎正在寻求为更广泛的应用小芯片设计,生产更为复杂的多芯片模块GPU。
目前越来越多的厂商开始探索多芯片设计以及相关技术带来的优势,毕竟单芯片设计在当下已经展现出了不少的局限性,其中AMD以及英特尔都是其中的探索者,特别是AMD将多芯片技术已经应用在了CPU以及GPU上。据Tom’s Hardware的消息,目前AMD在2022年12月8日提交的一项新专利目前已经被发现,AMD似乎正在寻求为更广泛的应用小芯片设计,生产更为复杂的多芯片模块GPU。

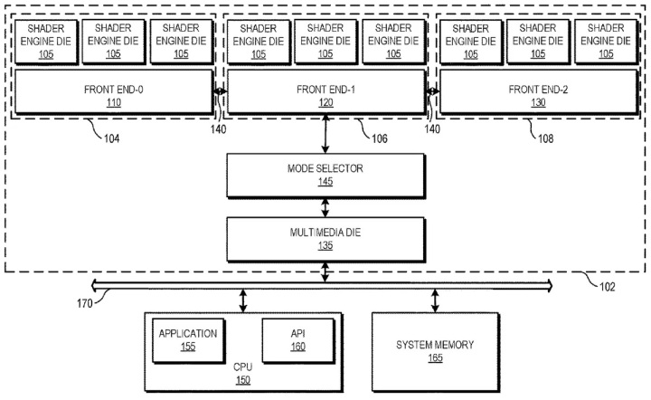
在当前的RDNA 3架构芯片里,AMD通过GCD实现了GPU的主要功能,然后使用多个MCD来完成显存接口和缓存部分。在AMD的新专利里,GPU不但分为多个小芯片,而且这些芯片可以进行配置,既能作为单个GPU运行,也可以作为多个GPU共同运行。这些GPU小芯片可以在三种模式下运行:
第一种模式,单GPU - 所有GPU芯片作为统一的GPU一起工作,共享资源并协同处理任务。在这种模式下,通常由一个前端芯片处理GPU内所有着色器引擎芯片的指令调度。这基本上就是传统GPU的工作方式。
第二种模式,多个GPU - GPU芯片被分成不同的组,每个组作为一个独立的GPU运行。每个组都有自己的前端芯片,负责为相关的着色器引擎芯片调度任务。
第三种模式,混合配置 - 这种模式提供了一种灵活的配置,其中一些GPU芯片作为单个GPU运行,而另一些则作为独立的GPU运行。

从专利当中的描述来看,这种设计更像数据中心GPU采用的CDNA系列架构,不过结合此前的经验来看,后续我们也有希望能够在消费级产品上看到类似的设计。
