8 月 10 日,三星发布了 Galaxy Z Fold4/ Flip4 两款折叠屏手机。虽然三星目前在全球折叠屏手机市场中占据主导地位,但其对手机新形态的探索一直没有停止。近日,三星一份新专利显示出其对手机屏幕的一种探索方向。
据 SamMobile 报道,三星于今年 1 月份向 WIPO(世界知识产权局)提交了一份专利,并且专利已于 8 月 25 被公开。该专利介绍了一款双屏手机,该手机在机身背部也有一块屏幕,类似于中兴此前发布的努比亚 X 和努比亚 Z20。


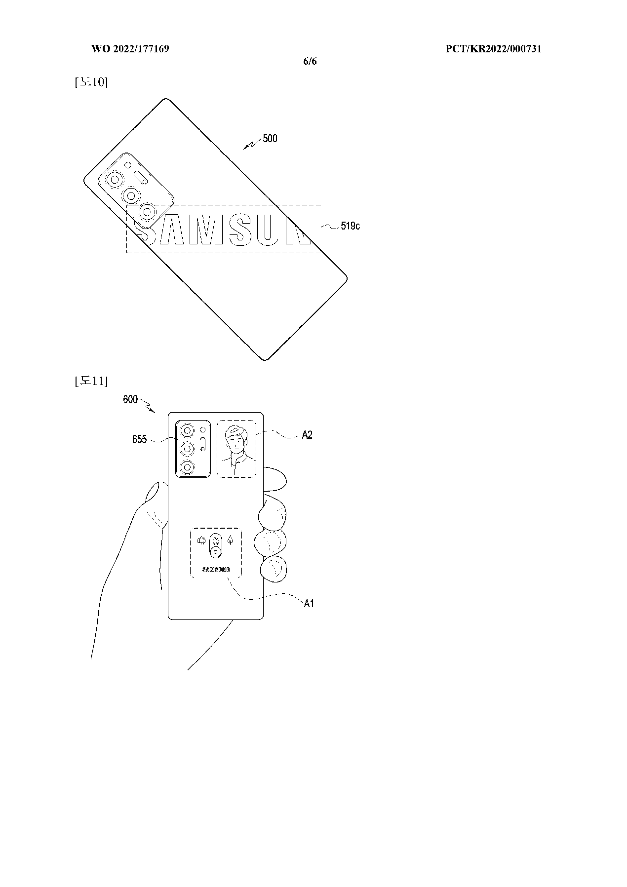
专利显示,该手机背部的屏幕可以整块亮起,或者仅部分发光,类似于目前的息屏显示(Always-on-Display)。据介绍,背部屏幕可以用来展示商标、自定义图案、常用信息等,这意味着其拥有强大的自定义功能。


同时,专利表明,手机背部的屏幕可部分透明,以保证该屏幕在关闭时几乎不可见。

努比亚 X 双屏手机于 2018 年 10 月发布,该机正面配备一块 6.26 英寸 LCD 屏幕,背面配备一块 5.1 英寸 OLED 屏幕。售价方面,该机 6GB+64GB 版起售价 3299 元。
