苹果产品单价高且容易出手,这让Apple Store零售店成为很多不法分子的目标,因此苹果零售店失窃甚至被抢劫事件会有发生。为了让店内更安全,苹果公司近期提交了一份新专利。


新闻报道中苹果零售店被抢劫案例
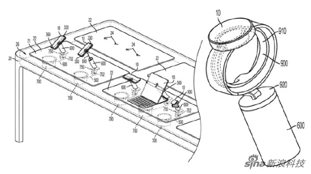
在向美国专利商标局提交的一项名为“产品显示系统”的专利中,苹果公司详细介绍了一些用于保护iPhone、iPad和Apple Watch的机械系统。

虽然苹果的展示品被盗窃后会自动进入丢失模式,设备无法使用,但该文件表明,防盗窃抢劫预防仍然是该公司正在进行的研究领域。
该专利方案中提到,在Apple Store的大桌子上固定一个“固定器主体”和“展示杆”,这些桌子具有一个“固定器支架”来固定设备。某些设备可能具有连接到支架的可伸缩“固定电缆”,以用于产品充电,并允许客户拿起设备体验。放置在显示杆顶部的磁铁可确保设备收回到预定位置。

一些授权店已经用上这种装置
为了保持安全性和美观,安装时候这个装置“可能不可见或不可触及”。与目前Apple Store中使用的安全绳相比,杆和支架的重量要大得多,目的是让小偷更难拆卸设备或剪短,从而阻止盗窃。
为了美观,苹果已经尝试移除安全绳,但该公司近年来遭受了大量的砸抢抢劫事件。而目前这个解决方案看起来并没有什么技术难度,实用可能性很高。 目前已经被一些苹果的授权经销商使用。
