据著名爆料人乔恩·普罗瑟(Jon Prosser)透露,苹果正在开发一款可折叠的iPhone原型机,它的特点是将两个独立的显示面板通过铰链连接,而不是像三星Galaxy Fold那样只有一块屏。

传说中的可折叠iPhone

爆料人乔恩·普罗瑟推特
这款可折叠的iPhone在设计语言上和目前的iPhone 11差不多,机身拥有圆润的不锈钢边框,没有“刘海”,但在显示屏外侧有一个 "小小的额头",用于Face ID。
虽然可折叠的iPhone采用了两个独立的显示屏,由一个铰链连接,但乔恩·普罗瑟称,两个显示屏的连接相当完美,一体感很好。

三星折叠屏手机Galaxy Fold
三星的折叠屏手机Galaxy Fold只有一块屏幕,设计难度更高。而苹果的可折叠iPhone看起来更类似于微软的Surface Neo和Surface Duo,这两款产品都是可折叠的双显示屏设备,特点是用铰链连接两块显示屏。

设计理念同微软Surface Neo和Surface Duo相似
苹果避免在铰链上安装屏幕,这就避免了三星Galaxy Fold所出现的设计问题,在屏幕上折叠,对屏幕的损耗非常大。
目前还没有消息表明苹果可能会在什么时候开发出可折叠的iPhone,但苹果对可折叠技术已经进行了大量研究。实际上,自2017年以来,就有传言称苹果就一直在研究可折叠设备,并且美国专利商标局公布了苹果的一份可折叠显示屏的专利申请。一年后,苹果公司获得了第二项具有柔性铰链的可折叠iPhone设计专利。

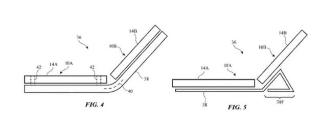
2020年3月的一项专利
在2020年3月的一项专利中描述了一种设备,该设备的特点是两个独立的显示器连接在一起,以创建一个单一的可弯曲的设备与铰链。
最后,乔恩·普罗瑟认为,可折叠的iPhone今年上市的可能性不大。
