相信大家通过前几期的专利解密对柔性屏技术有了较多的了解,其中更多的是柔性屏如何应用于终端以达到可折叠,今天本文分享OPPO于2015年12月29日申请的申请号为2015110261040的发明专利:如何通过一个简单弹片,解决终端为柔性屏内折预留空间而产生的展开时无法对柔性屏提供按压支撑的问题。
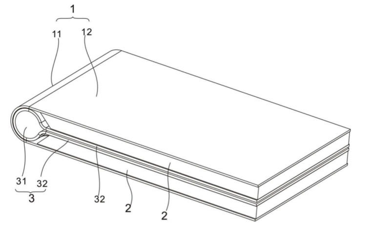
在一般设置中,为保护柔性屏,使其处于终端产品折叠的内侧,折叠式终端产品的内侧折叠位置需要预留出容纳空间,用于容纳柔性屏中间位置的弯折区。当终端产品平整展开后,柔性屏也平整展开,此时柔性屏的中间位置由于容纳空间的存在而悬空,使用者对于该中间位置处按压时容易形成塌陷。当前的折叠式终端的结构如下图1所示,其中1为外壳、2为主体、3为柔性屏,外壳1包括两个壳体12及可弯曲变形的弯折部11,弯折部11连接在两个壳体12之间,两个主体2分别固定在两个壳体12上。

图1 柔性屏终端折叠状态结构示意图
显而易见,图1的结构即存在柔性屏3展开后的弯折区31无法被支撑的问题。为此,该发明专利中设置了弹片4,作为柔性屏支撑件,其结构及设置方式请参阅图2和图3。

图2 柔性屏终端折叠状态剖视图

图3 柔性屏终端展开状态剖视图
根据图2和图3以及专利文件的说明可知,该专利的关键点在于,在外壳1内侧设置弹片4,弹片4中部弯折凸起,两端分别与两个主体2连接,同时柔性屏柔3固定于两个主体2的内表面,且覆盖在弹片4上。在柔性终端折叠时,弹片4跟随外壳1弯折,且两个主体2重叠,弹片4中部向外壳1方向凸起,为柔性屏的弯折提供了容纳空间;弹片4随外壳1展开时,弹片4中部向柔性屏3方向凸起,以支撑柔性屏3的中部,防止用户对柔性屏3触控操作时,屏幕区产生塌陷,从而解决了由于预留空间的设置而无法实现对柔性屏支撑的问题。
而且该专利中,弹片4的材料设置具有一定的材料刚性,在终端折叠或者展开状态时,都能对柔性屏3支撑,防止折弯过量或者产生塌陷。
另外,该专利所述弹片4上设置有柔性垫片,柔性垫片位于弹片4与柔性屏3的弯折区31之间,通过柔性垫片可以利于对弯折区31的支撑,避免弹片4刚性支撑对弯折区31造成损坏,影响柔性屏3的正常显示。
通过上述的解读,相信大家对本篇专利的技术方案有了清晰的了解,有人会惊讶,这么简单的改进就可以作为发明专利授权了?很多人对于柔性屏终端的认知是高大上的,一定是高科技的材料和非常精密复杂的结构组合而成的!但是,在技术改进和方案构想中也往往存在一个去繁存简的过程,这种与现下柔性屏终端的高精尖的发展思考方向反向行之的做法往往成为一个突出点;在产品竞争中往往能够满足性能的需求,同时大大降低成本,从而使产品极具竞争力。
